比恒大还大的雷出现,高达10万亿,这回许家印不孤单了!
就在去年恒大被爆出了惊天大雷,恒大老板许家印被依法强制执行,作为房地产的老板,他的生死存亡是关乎着数万百姓的。

恒大曾经作为房地产巨头,不少不懂行的百姓们奔着恒大的名声而购买了恒大的房产,可是又有谁能想到在多年之后恒大爆雷,多少人一辈子的心血付之东流。

许家印被执行之后,曹德旺曾说过,许家印这2.4万亿在一些角落里的大老虎面前根本不值一提,只是没有浮出水面而已。

没想到曹德旺真的是一语成谶,作为世界五百强的正威集团竟然也被爆了雷,令很多人吃惊的是,正威集团的雷比恒大可是要狠的多,金额竟然高达10万亿。

而正威集团的老板就是当年大名鼎鼎的铜矿大王王文银,此消息一出,一些网友调侃这下许老板在小房子可是不孤单了,可能不久之后这兄弟俩人就要团聚了。

那么作为铜矿大王的王文银是怎样一步步走到今天这一步的?这十万亿的雷到底是怎么一回事?
王文银与许家印之间的往来
随着许家印和王文银相继出事,一些网友便心存疑问,这两人之间是否存在着一定的往来呢?答案是肯定的。

这两人之间的渊源要从2017年说起,那时候的恒大总部还是在广州,恒大的发展也是如日中天,可是就在2017年的八月,许家印将恒大的总部搬到了深圳。

这其中的缘由我们不得而知,但是我们知道的是深圳有一个号称铜矿大王名叫王文银的人,而王文银的正威集团在几年前也荣登世界前五百强。

这位世界铜王的资产是深不可测的,他的正威集团一年的创收就有6000多亿元,他手里的铜矿就有20多个。
果然在许家印搬去深圳后的没多久,他就带着自己心腹去拜访了王文银,王文银听闻了许家印的到来,他也很是高兴,毕竟当时房地产发展正好,他也正好想乘上这股东风,好从中分一杯羹。

两人相谈甚欢,王文银还送给许家印了两幅字,这两幅字可是狠狠的拍对了许家印的马屁。
一副字是夸奖许家印是个非常了不起的人,建下了非常卓越的功劳,而另一幅就很有意思了,是一首藏头诗:"许家印卓越且伟大"。

不得不说王文银这话确实是说到了许家印的心坎里,两人就这样互相吹捧着。
但就是这次的拜访和吹嘘,已经达到了他原来的目的,后来王文银真的给许家印的恒大投资了50亿元,成功的成为了恒大的股东。

这还没完,之后王文银看房地产形势一片大好,接着又追加了863亿的投资,从这个时候来看,这两个人已经是一条船上的好兄弟了。

在恒大出事之后,作为好兄弟的王文银当然不能做落井下石的事情,他为了许家印不惜东奔西跑,想要将恒大从泥潭中拉出,但事实上很显然这是无谓的挣扎。

正威集团也遇爆雷
要论空手套白狼的技术,王文银相比于许家印要技高一筹,正威集团作为世界500强企业,很多地方其实是渴望这样大的企业去到他们当地的,所以几乎所有的地方政府对于王文银的到来那是很感激的。

因为这么有实力的企业能来一定能带动当地的经济,也能很大程度上解决一部分的就业问题,所以王文银的批地手续是一路绿灯,还拿到了不少政府的补贴款。

王文银在拿到地皮之后就去银行做贷款,为了糊弄当地的政府,他甚至是假模假样的进行施工,营造一种开工的状态,但其实这就是王文银套钱的一种手段。
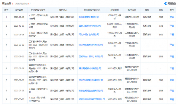
可是常在河边走哪有不湿鞋的,就在上一年,中建八局将正威集团一纸诉状送上了法庭,原因就是正威集团拖欠了他们一亿的工程款。

这个时候有人发出疑问了,手里这么多矿,为什么还会缺钱从而拖欠工程款呢?但实际上他这些所谓的铜矿,没有人知道在什么地方,也找不到。
面对败诉这一结果,王文银显然是想当老赖了,对于法院的审判,正威集团却置之不理,并拒绝执行审判。

然而就是一次的官司,又牵扯出了有关正威集团的其他烂摊子,而正威集团的老板王文银也被限制了高消费,之后这一事情虽说已经解决,但是这件事对正威集团的影响还是不小的。

从中建八局之后,关于正威集团的雷一个一个的曝出,贵阳银行向正威集团讨债16亿元,而在某查企业的软件我们也可以得知,关于正威集团的诉讼也在不断增加,甚至有被资产冻结的情况。

更可怕的是正威集团网页上所标注的10万亿资产全是靠造假得来的,而正威集团曾经引以为傲的7000亿销售额也是假的。

这不禁令人毛骨悚然,原来一直以来大家所认为的世界五百强公司其实都是假的,这样大的数额,看来许家印在王文银看面前也是小巫见大巫了。
王文银:每次危机都是一次弯道超车的机会
王文银曾说过:每一次的危机都是他弯道超车的机会,而王文银能有如此的身价其实离不开他的三次豪赌。

第一次是在1997年,那个时候由于亚洲的金融危机,整个深圳的经济低迷,租金也变得非常低,当所有的厂商们都在焦急的时候,王文银却看准了这次的机会。
他当时是做买卖电源线的生意,他拿出自己大学毕业以后的所有积蓄,不仅以极低的价格租下了一个很大的厂房,还买了整整一百台的设备。

这一次豪赌,他赌对了,也正是因为如此,王文银彻底在深圳站稳了脚。
第二次是在2003年的非典时期,王文银趁着慌乱购买了300多万吨的铜矿和不少的地皮,这一次豪赌之后王文银自己做了"庄家"。

第三次是在2008年的金融危机,前两次的豪赌成功,让王文银变得更加大胆,他直接在全球范围内购买了几十座铜矿,一举成为了世界铜王。

也正是由于这几次的豪赌成功,让他的正威集团的营收翻了十倍。

其实王文银也是从农村考出来的穷学生,但是他踏入社会之后请借着自己的学识和对机遇的嗅觉做到了身家千亿,这励志的人生任谁来看都是值得学习的。

但是穷出身的企业家终究是因为想走捷径而翻了车,等待他的恐怕也只有法律的制裁了,这下王文银和许家印也算是在小房子里团聚了。

所以说作为企业家还是要一步一个脚印的走,也要时刻将社会责任和老百姓们装在心中,只有受百姓爱戴的企业才能屹立不倒,越走越远。










