【福彩双色球25135期开奖结果及统计】
红球号和值74,蓝球10,7注一等奖,奖池27.43亿(2742951835)。
双色球25135期开奖结果及中奖情况:
出奖时间: 2025-11-23 星期日
红球: 1-2-5-9-25-32
蓝球: 10
双色球红球重号叠码:5, 9
红球隔期下落:5
红球奇偶比:4:2
红球和值:74
红球跨度:31
三区比:4:0:2
连号: 1-2


双色球25135期一等奖: 7注
二等奖: 104注
本期全国销售金额:400247838 元
奖池滚存:2742951835 元.
近15期奖池滚存, 中奖情况等信息:

双色球2025135期红号在过去是否出现过?
双色球2025135期红号: 1-2-5-9-25-32
经查,历史上没有出现过与这一期6个红球或者5个红球号码一样的。
与这一期4个红号一样的有15期,如下:


相似号下一期的近10期统计:


奖池滚存及一等奖数量:

统计近1500期蓝号10之后, 各蓝球的出现次数
双色球25135期蓝号是10
找出近1500期蓝球10号之后, 下一期出现的所有蓝号,统计其出现次数。,
除开这一期,总共出现了80次10号球
那么统计的样本数据是80个

=> 双色球近1500期蓝号10之后的冷热号
蓝球热号:2,16,1,12,3
蓝球冷号:6,13,14
双色球25135期开奖号码 VS 各冷热号
===> 双色球25135期四维度冷热号
红球热号:19,13,1,26,31,25,23,11,8,17
红球冷号:22,27,15,12,29,7,20,21,4
蓝球热号:13,3
蓝球冷号:5,14,15,2,9
> 命中红球:1-25(热号)
===> 双色球近300期冷热号
红球热号:17,2,8,3,18,20,10,6,25,9
红球冷号:28,29,31,15,5,26,12,24,21,27
蓝球热号:11,15,3,16
蓝球冷号:9,1,12
> 命中红球:2-9-25(热号) 5(冷号)
===> 双色球近10期冷热号
红球热号: 3,5,9,13,14,19
红球冷号: 6,11,22
蓝球热号: 3
蓝球冷号: 2,4,5,8,13,14,15,16
> 命中红球:5-9(热号)
===> 双色球近1500期蓝号12之后的冷热号
蓝球热号:13,10,6,3
蓝球冷号:12,11,4,5,9
> 命中蓝球:10(热号)
博弈心理,挑战概率: 看近期开奖号码,也可看历史数据统计!
【双色球25136期多角度冷热号】
双色球25136期四维走势图,红蓝号统计及冷热号
1) 历史同一天: 11月25日 (共8期)


2) 历史同一期: 每年136期 (共19期)


统计每年136期的样本数据:114个红球 19个蓝球

3) 追溯10期 每月25日:


4) 双色球最近20期:

=> 统计出现概率
综合以上4个纬度的号码, 共57期
根据出现的次数,分为热号,冷号,其他的为温号。
统计样本数据:342个红球 57个蓝球

=> 双色球25136期四维度冷热号
红球热号:10,3,2,25,21,8,26,19,18,14
红球冷号:22,11,7,30,32,13,29,33,4
蓝球热号:10,3,7,6
蓝球冷号:4,2,5,14,16
双色球近100期红蓝号统计情况
统计样本数据: 600个红球 100个蓝球

=> 双色球近100期冷热号
红球热号:10,2,6,9,19,33,17,14,3,24
红球冷号:29,1,12,22,27,28,7,11,26,30,32
蓝球热号:11,16,7,5
蓝球冷号:4,2,8,9,15
双色球近10期红蓝号统计情况
统计样本数据: 60个红球 10个蓝球

=> 双色球近10期冷热号
红球热号: 2,3,5,9,13,14,19
红球冷号: 6,11,22
蓝球热号: 3,10
蓝球冷号: 2,4,5,8,9,13,14,15,16
多角度蓝球次数汇总

=> 汇总的蓝球冷热号:
热号:3,10
冷号:4,14,8,13
【其他历史数据查询统计】
双色球历史上的今天
2025-11-24 星期一 双色球不开奖
每年11月24日出号情况:

奖池滚存&一等奖数 走势图:

双色球每年137期的出奖号


双色球红球含2-25-32历史统计



双色球红球含1-5-9历史统计



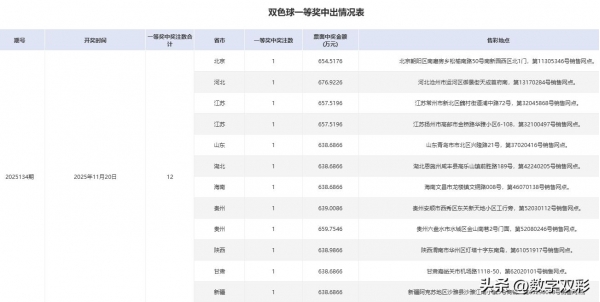
双色球25134期一等奖中奖详情











