近期,娱乐圈再度激起千层浪。一位颇具知名度的博主以实名方式,公开举报演员闫学晶涉嫌存在偷税漏税的行为,此事瞬间引发广泛关注。这一事件的引发点十分耐人寻味,博主在无意中发现,闫学晶的抖音账号竟然被禁止关注后,出于好奇,他决定深入挖掘,结果查出她某直播平台上的带货单数居然高达1278万单!如果按照每单佣金10元计算,这笔钱就超过1.2亿,哪怕是最低的1块钱佣金,也是个天文数字。

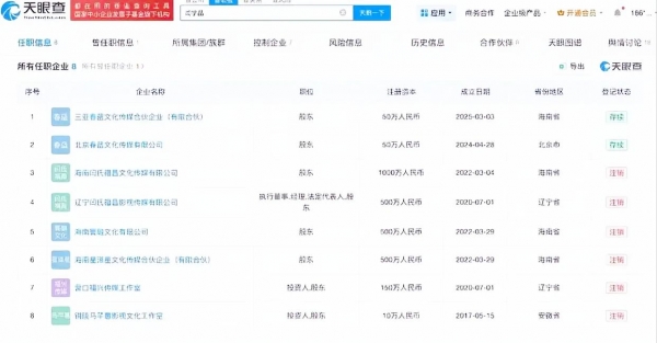
网友们对这一消息反应热烈,有人表示:"这可真是让人震惊,明星赚得真不少啊!"还有人疑惑:"难道这些钱都没交税吗?"博主进一步调查发现,闫学晶所有的佣金都打到了她名下的一家叫三亚春兰文化传媒公司的账户里,而这家公司有着复杂的股权结构:她占50%、儿子占30%、舅舅占20%。更令人不解的是,他的儿子在2022年个人所得税仅交了7.8万元,这与他的收入水平完全不符。难道是故意避税吗?

更有意思的是,博主还发现,闫学晶名下关联的8家公司中,有6家已经注销,这是否意味着她在试图销毁证据呢?总之,这一系列操作让人感到疑云密布。值得注意的是,闫学晶的公司注册在海南,但办公地点却在吉林,这样的安排是否是在利用海南自贸港的优惠政策进行避税操作?

这次事件不仅仅是明星的个人问题,更是对整个行业合规性的拷问。许多网友对此表达了关切,有人说:"这是对普通人的一种警示,明星也应该遵循法律。亦有人称:"切盼相关部门展开彻查,以公正之举措,还众人一份公道,让真相昭然于众。""

总结来看,闫学晶此次遭遇的麻烦,绝不仅仅是简单的经济问题,更是关于诚信与法律的较量。我们期待有关部门能够深入调查,为我们普通观众带来一个清晰的答案。这一事件不仅反映了明星在财务处理上的潜规则,也提醒了我们每个人要对合法合规有更深刻的认识。










