双色球第2026016期开奖号码:04、05、09、10、27、30+13

一等奖中奖情况:
河北1注,浙江1注,安徽1注,山东1注,河南2注,四川1注,深圳1注,共8注。
下期一等奖奖池累计金额: 2,811,368,081元

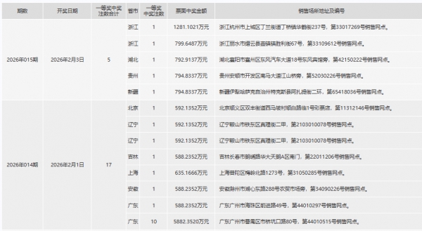
下面是近2期中奖明细

一起来回顾一下本期的开奖号码:
1. 跨度分析
跨度指红球最大号与最小号之差。本期最小号04,最大号30,跨度=30-04=26。这一跨度属于中等偏大水平(双色球红球理论最大跨度为29),表明号码在01-33区间内分布较分散。近二十期数据显示,跨度常见于24-28之间,本期26处于这一区间的中位,符合近期跨度走势。
2. 和值分析
和值为红球所有数字之和:04+05+09+10+27+30=85。85的和值在双色球红球和值范围(21-183)中处于中位偏上区域。近二十期中,和值多集中在75-105区间,本期85恰好位于该区间中段,反映出号码大小搭配相对均衡,未出现极端偏大或偏小组合。
3. 奇偶比分析
红球中奇数有05、09、27(共3个),偶数有04、10、30(共3个),奇偶比为3:3,完全平衡。这是双色球最常见的奇偶比例之一。近二十期数据显示,奇偶比3:3出现频率最高(约40%),其次是4:2。
下面是近二十期开奖结果:

提醒:
1、每期投入少于10元,每月投入不超过100元。
2、任何分析都无预测功能
备忘:
看点:01、03、17、19、24、27+04、09、12










