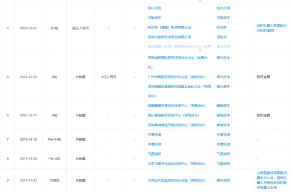
目前,包括天使轮在内,因时机器人已完成9轮次融资,背后投资机构包括:磐谷创投、飞图创投、中赛投资、峰瑞资本、顺为资本、科沃斯、芯联资本、钧山投资、华盖资本、铭哲资产、源禾资本、中金资本、成都科创投、达晨财智、神骐资本等。

可以看到,小米旗下顺为资本、国产清洁机器人龙头企业科沃斯、国产MEMS & 功率芯片代工龙头芯联集成旗下芯联资本等众多产业上下游巨头参与投资因时机器人。

灵巧手年出货量超10000台,中国第一!触觉等多项传感器技术自研
精密控制与精确感知,被认为是实现灵巧手的技术关键。
因时机器人的看家本领,是微型伺服电缸技术--这是一项集精密传动与传感于一体的机器人灵巧手核心技术。
具体应用上,微型伺服电缸装在机器人灵巧手上,用于精确控制每根手指的运动。每个微型伺服电缸直径仅十几毫米,由丝杆、位置传感器、减速箱、伺服驱动器、马达、力传感器等核心零部件组成--其技术难度犹如将"大象"塞进"火柴盒"中。










